Drawing Analysis

Are you looking for the best Drawing Analysis for your personal blogs, projects or designs, then ClipArtMag is the place just for you. We have collected 40+ original and carefully picked Drawing Analysis in one place. You can find more Drawing Analysis in our search box. Feel free to download, share and use them!

ADVERTISEMENT

Cliparts for Personal Use

Views: 1462 Cliparts: 40 Downloads: 0 Likes: 0

746x902 A Data Flow Diagram
520x580 Analysis Of Capillary Instability In Metamaterials Fabrication
500x500 Analysis Of Project Drawings Line Icon Concept Analysis
474x786 Buble Diagram Architecture Studies Bubble Diagram Architecture
795x808 Biohazard Symbol Analysis
383x470 Collection Of Free Deployed Clipart Requirement Analysis Download
502x340 Conceptual Design And Analysis
800x389 Design Stress Analysis Of Lifting Equipment Cranes
697x900 Doctor And Therapist Standing Beside Nurse With Analysis
316x316 Drawing Based Analysis Quadrant Review Download Scientific Diagram
706x645 Drawing Of S Obtained From The Analysis Of Isoclinic Fringes
1000x723 Field Measurements, Design, Analysis, And Isometric Drawing
650x550 Film Analysis
700x426 Flowchart Drawing Software Market Growth Analysis, Share, Demand
601x457 Gap Analysis
2208x1188 Global Wire Drawing Machine Has Become A Good Anticipatory Market
800x800 Hand Holding Magnifying Glass Search Stock Vector Colourbox
946x1024 Handwriting Analysis David O'keefe Studios
952x664 Is It Possible To Reveal Aspects Of Our Personality
1086x768 Jon Modern Architecture Analysis Drawing Course
564x1055 Khoa Vu
320x320 Luciferase Reporter Analysis Of Mir Targets A Schematic
550x341 Make A Fishbone Diagram
670x455 Nws Jetstream Learning Lesson Drawing Conclusions
670x455 Nws Jetstream Learning Lesson Drawing Conclusions
610x280 Needless Blood Drawing System Market Global Industry Trend
850x273 Ortep Drawing
900x840 Pattern, Chart, Drawing, Transparent Png Image Clipart Free Download
1000x738 Print Drawingsdrawn Prints Amze Emmons
527x291 Schematic Drawing For The Analysis Of The Dynamics Of Cect
320x320 Schematic Drawing Of The Gnss Tide Gauge For Snr Analysis
680x548 Schematic Drawing Of The Specimens For Analysis Of Longitudinal
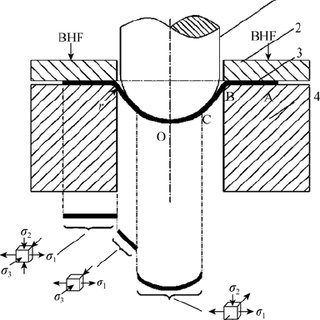
320x320 Schematic For The Analysis Of Stress State During Deep Drawing
685x509 Services Dotec Corporation
750x422 Signature Analysis
1280x720 Spectrum Drawing + Color Analysis
2087x526 Stress Analysis Of Rectangular Cup Drawing
1600x1447 The Rietveld Schroder House Diagrams An In Depth Analysis
1000x667 Word Writing Text Blueprint Business Concept For Design Plan
2443x3032 Drawing Analysis Communicate With Excellent Writing Skills

Tags: analysis

All rights to the published graphic, clip art and text materials on ClipArtMag.com belong to their respective owners (authors), and the Website Administration is not responsible for their use. All the materials are for personal use only. If you believe that any of the materials violate your rights, and you do not want that your material was displayed on this website, please, contact the Administration and we will immediately remove the copyrighted material.

shutterstock

Related collections