Maglev Train Drawing

Are you looking for the best Maglev Train Drawing for your personal blogs, projects or designs, then ClipArtMag is the place just for you. We have collected 37+ original and carefully picked Maglev Train Drawing in one place. You can find more Maglev Train Drawing in our search box. Feel free to download, share and use them!

ADVERTISEMENT

Cliparts for Personal Use

Views: 2225 Cliparts: 37 Downloads: 7 Likes: 0

1024x759 Train Drawing Shinkansen For Free Download
500x500 Abstract Sketch Black White Bullet Train
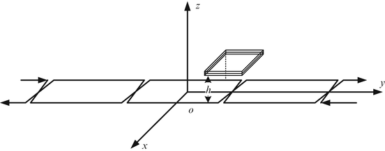
425x263 Applications Of Electromagnetism
320x320 Bogie Structure Of Low Medium Speed Maglev Train Download
600x336 Bogie Structure Of Low Medium Speed Maglev Train Download
575x458 Build A Floating Maglev Train Science Project
500x243 Build A Floating Maglev Train Science Project
450x354 Bullet Train Clipart Clipart Portal
300x225 Diy
720x450 Faster Trains Not Horses
500x500 How To Draw Train The Easy And Clear Guide For Drawing Trains
1280x720 How To Draw A Bullet Train Step
678x600 How To Draw A Train In A Few Easy Steps Easy Drawing Guides
649x194 Intercity Maglev Monorails
258x252 Maglev Train Chine, En, Engineering, Levitation, Maglev, Maglev
728x546 Maglev Train Paper Presentation, Magnetic Leviation Train, High
256x256 Maglev Train Illustration
1280x1280 Maglev Train With Monorail Model
1000x376 Owi Magnetic Levitation Express Mag Lev Train For Sale Online Ebay
236x236 Rock On Train Coloring Pages, Train
842x842 Polar Express Coloring Pages Holiday Coloring Pages Train
900x480 Rapid Transit Clip Art Rail Transport Train Openclipart
300x250 Simple Maglev Train Steps
552x217 The Position And Speed Detection Technology Based On Loop Cable
362x190 Toy Train Cartoon Drawing Free Image
880x560 Train Clip Art
880x561 Train Clip Art Black And White
900x800 Train Maglev Image Drawing Portable Network Graphics
560x560 Train And Locomotive Online Coloring Pages
320x240 Train Stock Photos And Royalty Free Images, Vectors
496x368 Train Vector Free Vector Download
800x800 When Will We See Autonomous Trains Running
320x240 Illustration Of Train Vector Drawing
600x387 Moorepants Odu Maglev
500x500 Vector Drawing Of A Train Wagon Stock Image And Royalty Free
400x400 Twitter The Top Speed Attained
560x300 Train Emoji

Tags: maglev, train

All rights to the published graphic, clip art and text materials on ClipArtMag.com belong to their respective owners (authors), and the Website Administration is not responsible for their use. All the materials are for personal use only. If you believe that any of the materials violate your rights, and you do not want that your material was displayed on this website, please, contact the Administration and we will immediately remove the copyrighted material.

shutterstock

Related collections