Trench Drawing

Are you looking for the best Trench Drawing for your personal blogs, projects or designs, then ClipArtMag is the place just for you. We have collected 40+ original and carefully picked Trench Drawing in one place. You can find more Trench Drawing in our search box. Feel free to download, share and use them!

ADVERTISEMENT

Cliparts for Personal Use

Views: 1846 Cliparts: 40 Downloads: 0 Likes: 0

1024x1024 Coat Drawing Coat Hanger For Free Download
543x1133 Leather Drawing Trench Coat Huge Freebie! Download
707x1131 Drawing Fem Huge Freebie! Download For Powerpoint
450x635 Drawings Dessins,cally Trench,tineke Bruijnzeels,kaliko
450x640 Drawings Dessins,cally Trench,tineke Bruijnzeels,penny
494x842 Cartoon Man In Hat And Trench Coat With Thought Bubble Metal Print
234x470 Cartoon Woman In Trench Coat With Speech Bubble
638x362 Close View Of Trench Parameters Download Scientific Diagram
791x797 Creature From The Mariana Trench On Twitter He's A Lot Of Fun
3000x3000 Draw This In Your Style Trench Queen Much Needed Therapy
400x640 Emily And Connie In Disguise In A Totem Pole Trench Hiding
720x720 How To Draw Chibi Peeta, Hunger Games, Step
548x720 How To Draw Kroenen From Hellboy, Step
622x484 How To Draw A Fish
434x511 How To Draw A Skull With A Pencil In Stages
300x250 Hummingbird Wearing A Coat
570x880 Jessicaillustration Jessica's Little Shop Of Illustrations Art
1129x1047 Joey Lee's Drawings
1024x979 Just Quick Drawing Lol Clique Amino
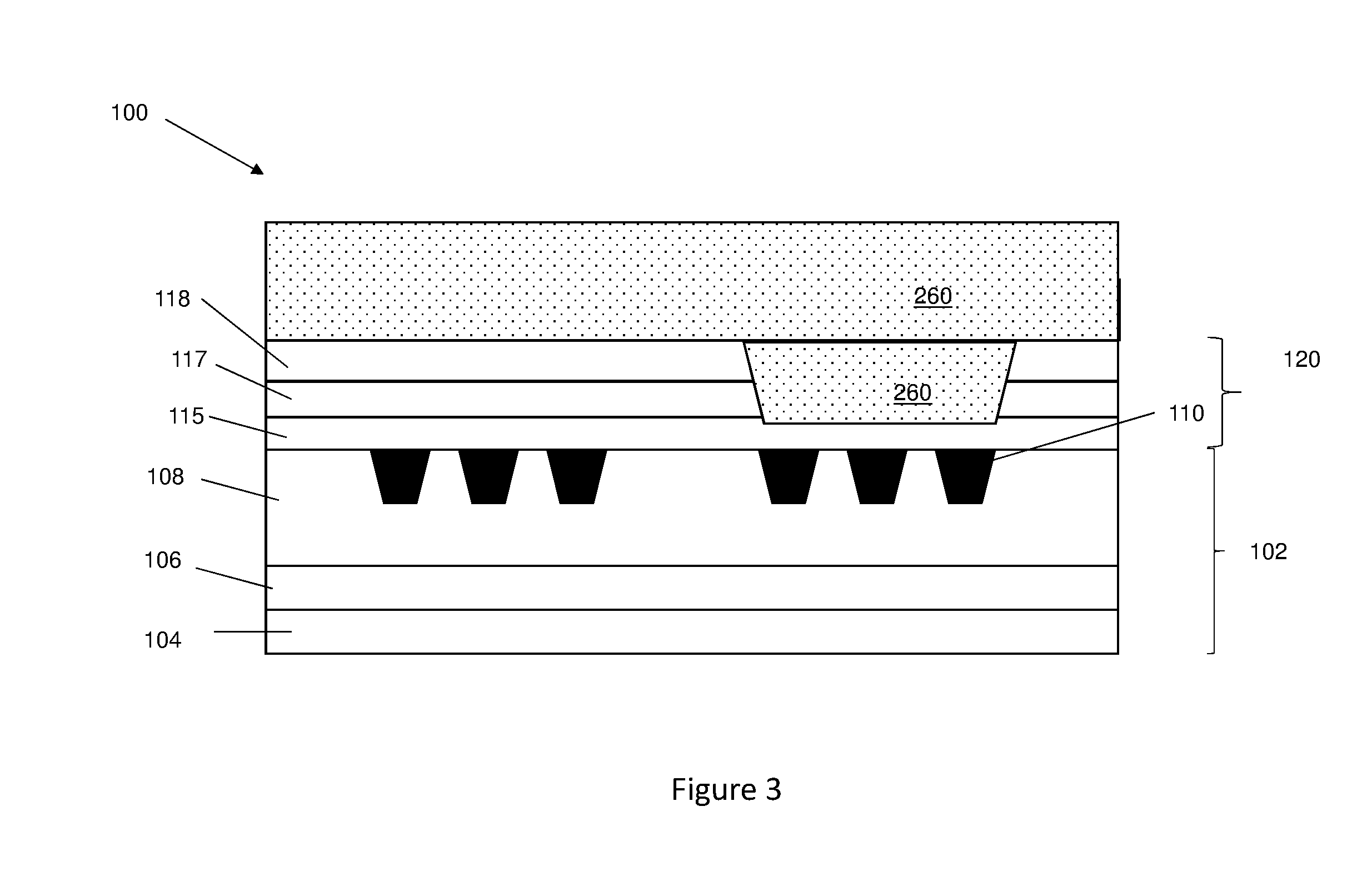
2469x1576 Method Of Forming High Performance Vertical Natural Capacitor
418x550 Near Fall
308x320 Page Of Albuquerque Totem Pole Trench Friendship
273x273 Schematic Drawing Of The Cross Section Of Measured Aei And Asi
270x270 Shop Drawings
745x745 Standard Trench Sheet For Sale And Hire From Generation Uk
665x1024 Tendenze Moda Primavera Estate Fashion Fashion Sketches
356x450 The Yellow Trench Art Print
800x800 The Drawing I Created For A Short Comic Albuquerque
2550x3509 The Trench As Seen In The Latest Vogue Magazine
707x1131 Totem Pole Trench Walker
2007x2205 Trench + Regional At Best Twentyonepilots
880x1045 Trench Drawing Animated
210x230 Trench Drawing Stickers Redbubble
363x305 Trench Wars {tgcw} Tynker
640x714 Volume Year Tel Avel Bet Ma'akha
600x600 Zach Sisk Inner Ocean Records
1080x1080 Chris O'neal Austrian And American Trench Clubs, World War
1200x1200 Christtt Deep Dark Trench On Twitter 'sacrificial Lamb'
247x400 Marianas Trench Drawing Tumblr
750x1334 Twentyonepilotstwentyonepilotslockscreenwallpaperbacksc

Tags: trench

All rights to the published graphic, clip art and text materials on ClipArtMag.com belong to their respective owners (authors), and the Website Administration is not responsible for their use. All the materials are for personal use only. If you believe that any of the materials violate your rights, and you do not want that your material was displayed on this website, please, contact the Administration and we will immediately remove the copyrighted material.

shutterstock

Related collections